
This Master Lock no. 3 padlock is made from multiple steel plates stacked and riveted together under enormous pressure, just as Harry Soref designed in 1921. Carl A. Swanson photo
Harry Soref, the founder, general manager, and chief designer of The Master Lock Company, was a most unlikely industrial tycoon. Small, slight, and soft-spoken, he preferred working in an unadorned cubbyhole of an office in the huge factory he built. His working day started at 5 a.m. and often continued until 9 or 10 at night, six days a week.
“There is no Sunday, no Monday, no Tuesday for me,” he told the Milwaukee Journal in 1940. “The days are too short and nights too long.”
His factory employed more than 600 people but Soref refused to install time clocks or set production quotas. One could spot newly hired employees when they referred to the company’s founder as “Mr. Soref.” The workers who had been there a while called the boss by his first name.

Master Lock remains a Milwaukee institution nearly a century after it was established. Carl A. Swanson photo
This quiet man turned a one-room workshop with two employees into the largest padlock maker in the world. The laminated steel padlock he invented nearly a century ago remains in production and largely unchanged.
Born in Russia in 1887, Soref immigrated to the United States, learned the locksmithing trade, and spent an adventurous youth working throughout the United States, Canada, and Mexico.
Back then, mass-market locks tended to have very basic mechanisms. Soref founded his first company, the Master Key Co., to sell a set of five keys capable of opening practically any lock on the market. The keys sold well, which irritated police who said he was encouraging crime. Soref knew perfectly well inadequate locks were the real problem.
At the time, most padlocks fit into one of two categories: strong and expensive or cheap and flimsy. Quality locks typically started as a block of solid metal painstakingly machined to form the body of a padlock. Cheaper locks had stamped metal shells held together by rivets – you didn’t need Soref’s master keys to open them, a blow from a hammer would do the job.
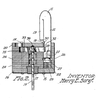
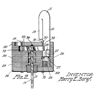
Thinking it over, Soref hit on an idea: What if you stamped out a series of steel plates, stacked them one on top of the other and held it all together with strong rivets formed under enormous pressure? Such a lock would be as tough as the best on the market but far less expensive to produce.
After filing a patent for his idea in 1921, Soref visited established lock makers to explain his idea. One after another, they turned him down. Some called the lock impractical, others said his idea was a crazy one. A few laughed.
The companies wanted to cut manufacturing costs by using the bare minimum of parts. Soref’s padlock had a great many parts although the majority, the steel plates, could be turned out cheaply and in vast numbers with a simple punch press.
Discouraged, Soref returned to Milwaukee. But he had his design and he had friends who believed in him. Two of them, Philip Yolles and Samuel Stahl, joined Soref in founding The Master Lock Company. The men rented a one-room workshop, purchased a grinder, a drill press, and a punch press and hired another of Soref’s friends, Hans Peterson.
Production began in June 1924. The laminated steel padlock was an immediate success. The fledgling company soon moved from its workshop on West Water Street into the basement of a large building on Juneau Avenue owned by Pabst Brewing Co. Within a few years the rapidly growing company took over the entire five-story building.
The onset of the Great Depression did little to slow the company’s growth. “There is always a demand for padlocks,” Soref told the Milwaukee Journal in a 1955 interview. “When conditions get bad the lock business gets better. People lock up their stuff.”

Making them like they used to and where they used to: The Master Lock Milwaukee plant has been in operation at 32nd and Center since 1939. The factory floor space is equivalent in size to seven football fields, Carl A. Swanson photo
In 1939, Master Lock built a sprawling factory at 2640 N. 32nd St. Soref oversaw every detail of its construction. A 1940 Journal article noted the executive washrooms were expensively decorated in marble and tile and, the reporter was surprised to learn, so were the factory washrooms.
“If others can have it, they can too,” Soref shrugged.
He specified appropriately grand offices for the company’s senior management – but you wouldn’t find Soref there. He favored a simple room at the top of four flights of stairs where his desktop held a jumbled assortment of lock components. There was a single decoration on the plain walls – a chart listing 20,000 Master Lock combinations.
His personal life was just as modest. He lived with his wife, Bertha, and five children in a 2,700-square-foot bungalow at 2729 N. 51st St.
By 1955, the Master Lock plant covered six acres, employed 600 workers, and produced as many as 80,000 padlocks a day. Its chief designer was still up at 4 a.m. and, after stopping for breakfast – coffee and donuts and always at the same restaurant – and was at his desk by 5 a.m. But his health was failing. Two years later, on March 15, 1957, Soref died.
In addition to holding 80 patents for locks and lock-making machinery, Soref was awarded a gold medal by The American Association of Master Locksmiths, the only one the association ever bestowed.
Now a subsidiary of Fortune Brands Home & Security, Master Lock LLC has operations around the globe, but it is still headquartered in the Milwaukee area and its factory on North 32nd Street is still turning out locks.

President Barack Obama tours Master Lock Co. on Feb. 15, 2012. (Official White House Photo by Pete Souza)
In 2012, the company earned national attention, and a visit from then-President Barack Obama, when it returned some jobs to Milwaukee previously performed in China. The move returned the factory – the size of seven football fields – to full production for the first time in 15 years.
Back in 1955, the man who made Master Lock a world leader shared a secret with the Milwaukee Journal.
“I even dream about padlocks,” he said.

Nice article! I worked there as a Manufacturing Engineer for 14 years (1983-1997). When I started in 1983, it still had that nice “family feel” to it. By 1997, it had turned very corporate (what I called “corporate ugly”), so I left. Too bad, because it was a fun place to work for probably 10 of my 14 years. When I left in 1997, there were about 1300 employees there on Center St. Three years later, that was down to 300. So when they brought back 100 jobs a few years ago, they were still way down on total employment there. Most of the work went to Mexico and China. Sorry to say it, but the imports are just as good, and sometimes even better because the machinery and equipment used overseas is newer than what we were using on Center St. That, together with cheaper labor rates and higher levels of automation makes the imports difficult to beat; hence, the shift away from manufacturing in Milwaukee. I’m not bitter about it; that’s just the way it is in most manufacturing now. If anyone wants to understand this better, I suggest a book called “The World Is Flat”, by Thomas L. Friedman.
Thanks again,
Chuck
LikeLike
I really enjoyed reading today’s entry. You always post such interesting, well-written articles about Milwaukee!
LikeLike
Thanks Katherine!
LikeLike
I loved those old TV ads showing a guy shooting a bullet right through a Master Lock…which would stay locked. I’m amazed there is any part of the factory still producing locks. Not much, as a previous poster mentioned, but still remarkable. Thanks for another well-researched and interesting article, Carl!
LikeLike
I believe those ads were done by Milwaukee ad agency Cramer Krasselt. Back when Milwaukee companies utilized the skills of other Milwaukee companies!
LikeLike
I remember that ad too! The famous “shot lock” commerical first aired during 1974’s Super Bowl and featured a high-powered rifle shooting a hole through a Master Lock without opening it. That was long after Hary Soref’s time, but he would loved it — in researching this post I came across a quote of Soref’s, to the effect it always annoyed him to be watching a movie and see someone in the film open a lock by shooting it. He said, in so many words, “Nine times out of 10 that would just wreck the mechanism and make the lock impossible to open.”
LikeLike
Your story of Harry Soref is most wonderful, giving us a glimpse of early entrepreneurship in Milwaukee, and then reading from one of your followers, the unfortunate and yet so familiar after-story of industrial decline in Milwaukee. It is good to see these more encouraging human interest stories of Milwaukee’s past surface as I think there is many people seeking to learn of our past as we wrestle with today’s world. I have learned of other amateur columnists who have been sharing the past with readers. A fellow friend has been doing a series on Beloit’s past through his eyes of growing up in that area in the early 50’s. He prints in a local Tucson paper. Keep them coming, I think you have a following here too.
LikeLike